最好看的2018免费观看在线-最好看的2019中文电影-最好免费观看高清视频免费-最近免费中文字幕大全免费版视频

您好!歡迎光臨烜芯微科技品牌官網!

深圳市烜芯微科技有限公司

ShenZhen XuanXinWei Technoligy Co.,Ltd
二極管、三極管、MOS管、橋堆

全國服務熱線:18923864027

  • 熱門關鍵詞:
  • 橋堆
  • 場效應管
  • 三極管
  • 二極管
  • 增益精確的可變增益放大器介紹
    • 發布時間:2021-03-26 14:01:15
    • 來源:
    • 閱讀次數:
    增益精確的可變增益放大器介紹
    可變增益放大器是GPS接收機中的一個關鍵模塊,它與反饋環路組成的自動增益控制電路為模/數轉換器(ADC)提供恒定的信號功率。模擬信號控制增益的VGA增益連續變化,但是線性度較差。
    這里采用電阻形式的負反饋的放大器來設計一個0~30 dB增益變化的中頻可變增益放大器,VGA的增益精度并不取決于工藝、電壓和溫度等因素對電阻、MOS管開關的影響,增益誤差在各個工藝角下都小于5%。
    1 可變增益放大器原理
    模擬電路需要對信號進行放大或衰減,這一功能可由可變增益放大器(VGA)實現。它在無線通信的收/發信機模擬前端中,起著至關重要的作用。圖1是用于GPS的接收機模擬前端圖。處于基波頻率的VGA補償射頻模塊和中頻模塊的增益衰減;VGA將輸出信號放大到A/D轉換器需要的幅度。AGC環路改變接收機的增益,調整各級信號動態范圍,穩定輸出信號功率的作用。
    可變增益放大器
    對于VGA電路,IIP3和THD是重要的指標,因為它的輸出信號幅度很大。其次,為了實現寬增益范圍調節,同時保持不同增益輸入功率下恒定的輸出建立時間,要求VGA的增益與控制電壓成dB線性。VGA增益步長越小越精確,則對ADC的要求越降低。在文中,數字控制的VGA電路提供了30 dB的增益控制范圍,使用7b精確控制增益大小,所耗面積和功耗小。
    2 可變增益放大器結構與性能比較
    VGA主要分為開環和閉環兩種結構。一種常見的開環結構是文獻[1]采用的Gilbert結構,如圖2所示電路。Ms上加一個基準電壓,電壓Vc控制耦合電流的大小,起到改變增益的作用。但是此結構電路堆疊了四層電路,限制了輸出電壓的擺幅,而且此電路不能實現指數增益的控制。這些運用最廣泛的開環結構中,可變增益放大器主要基于簡單差分,或者是偽差分對,使用源極反饋技術,模擬乘法器和使用二極管連接的MOS管作為負載等技術。這些結構最大的問題就是線性度和失真度的問題。
    因為負反饋電路具有穩定輸出,降低非線性失真的作用,所以閉環結構呈現更好的線性度。常見的閉環電路結構中的VGA使用電阻陣列實現增益控制,例如將電阻和MOS管串聯,控制MOS管開關的通斷狀態實現阻值的變化,進而改變放大器的增益。因為繼承電路中的電阻、MOS管開關都受到工藝、電壓、溫度的影響,難以實現精確的阻值,所以PGA的增益精度有限。文獻[9]使用電流分割技術,實現了精確的增益控制,文獻[10]對電阻網絡進行了改進,但是這些電路復雜,額外電路也增加了功耗。這里在沒有增加任何設計復雜性的情況下,實現了較為精確的增益控制。
    3 高性能VGA結構和實現
    為了達到要求的增益控制范圍和步長,使用兩個級聯的VGA。第一個部分的VGA實現6 dB步長的增益控制,另一個部分實現精準的O.5 dB步長。因此整個VGA實現了粗調和細調(見圖2)。
    可變增益放大器
    當運算放大器的增益足夠大時,閉環VGA的增益等于兩個電阻的比值:Gain=-Rf/Rs,改變電阻可以實現增益的變化。粗調的阻值變化很大,改變反饋Rf,會影響粗調輸出節點的極點;電阻Rs可變,它對前級將形成變化的負載效應。選擇改變Rs,在前級增加緩沖電路進行隔離。
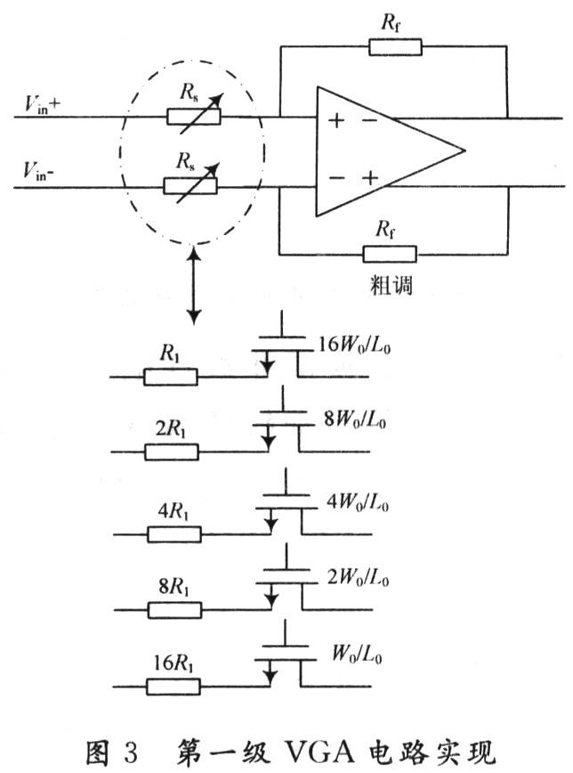
    首先進行第一級6 dB步長增益的考慮:取Rf=R0,Rs=R1,實現3 dB的增益,那么Rf不變,Rs=2R1,則實現9 dB的增益。同理:當Rs=4R1,實現15 dB增益;當Rs=8R1,實現21 dB增益;當Rs=16R1,實現27 dB增益。
    為了更好地匹配,對與電阻串聯的MOS管開關尺寸按圖3比例設計,Rs等于MOS管的導通電阻和多晶硅電阻,MOS導通電阻與W/L成反比。
    可變增益放大器
    再考慮第二級O.5 dB步長增益可以發現,O.95轉化為dB值等于-0.445 5 dB。0.9為-0.915 dB,0.85為-1.412 dB,O.8為-1.938 dB,0.75為-2.499 dB,O.7為-3.098 dB。1~0.7之間O.05的間隔對應于dB中基本接近于0.5 dB的間隔。使用這個規律,設計可以如下:
    可變增益放大器
    兩級VGA就可以實現O~29.5 dB(2.5 dB+27 dB=29.5 dB)增益控制,且步長可以比較精準地達到O.5 dB。由于設計中用的都是電阻的相對值,所以電阻、MOS管開關都受到工藝電壓和溫度等因素VGA的增益精度的影響會很小。
    如圖4所示,可變電阻R1是用多晶硅電阻和工作在晶體管區的MOS開關來實現的。開關電阻通常被用在低失真可調模擬模塊。MOS晶體管的非線性將產生諧波以及交調失真,這將會降低整個電路的線性度。在文獻[11]中,推導出一個近似的公式來接近開關管的非線性特性。
    可變增益放大器
    輸入電壓Vin被轉換成非線性電流Iin流入電流模式的VGA放大器。在弱非線性網絡中,已經使用Vol-terra級數推導出非線性諧波失真(HD2和HD3)。 
    可變增益放大器
    式中:Vin是輸入的電壓的峰值;R1等于R1α+Rds的總和;α2,α3是二次、三次非線性系數。因此如果把開關管放置在運放的虛地端(即運放的輸入端),則HD2和HD3近似等于0。
    4 版圖與后仿真結果
     圖5是用SMIC 0.18μm CMOS工藝實現的VGA版圖,芯片面積為:510μm×160μm,整個版圖包括VGA核心部分,直流偏移消除模塊,和CMOS源極跟隨緩沖電路,恒定Gm的偏置電路。
    可變增益放大器
    圖6~圖8給出了VGA在Candence環境下用Spectre工具模擬得到的后仿真結果。圖6為輸入階越跳變,得到的輸出瞬態響應曲線。
    可變增益放大器
    圖7為不同的數字增益設置對應的VGA增益。圖8是放大器不同增益的頻域響應。其增益從0 dB變化到29.5 dB,其中0.5 dB一檔。
    5 結 語
    本文介紹一種O.18μm CMOS工藝實現,應用于GPS全球定位系統得可變增益放大器。文中巧妙地應用反饋系統中環路穩定性理論設計放大器;在增益步長的控制上,增益隨bit線性化,并保證增益精度不受工藝角偏差影響。仿真結果表明,該放大器適合在接收機模擬前端中使用。
    烜芯微專業制造二極管,三極管,MOS管,橋堆等,20年,工廠直銷省20%,1500家電路電器生產企業選用,專業的工程師幫您穩定好每一批產品,如果您有遇到什么需要幫助解決的,可以直接聯系上方的聯系號碼或加QQ,由我們的銷售經理給您精準的報價以及產品介紹
    相關閱讀