最好看的2018免费观看在线-最好看的2019中文电影-最好免费观看高清视频免费-最近免费中文字幕大全免费版视频

您好!歡迎光臨烜芯微科技品牌官網!

深圳市烜芯微科技有限公司

ShenZhen XuanXinWei Technoligy Co.,Ltd
二極管、三極管、MOS管、橋堆

全國服務熱線:18923864027

  • 熱門關鍵詞:
  • 橋堆
  • 場效應管
  • 三極管
  • 二極管
  • 運放電路,減法器電路設計介紹
    • 發布時間:2022-11-23 18:30:07
    • 來源:
    • 閱讀次數:
    運放電路,減法器電路設計介紹
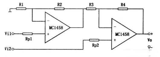
    通用減法器電路
    圖(a)電路輸入輸出關系為:V0=Vi2-Vi1圖中放大器的輸出信號電壓極性通常與輸入電壓極性相同。如果要求反相輸出,則采用圖(b)所示電路。其輸入輸出關系為:Vo=Vi1-Vi2。
    運放 減法電路
    INA105構成的減法電路
    如圖所示為其他器件組成的減法電路(2)。該電路輸入輸出關系為:Vo=Vi2-Vi1。
    運放 減法電路
    從同相端輸入的兩運放減法電路
    如圖所示為從同相端輸入的兩運放減法電路。
    運放 減法電路
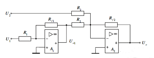
    用加法電路構成減法電路
    運放 減法電路
    如上圖所示,第一級為反相比例放大電路,若Rf1=R1,則Uo1=-U1;第二級為反相加法電路,則可導出
    運放 減法電路
    如果R2=Rf2,則上式變為
    運放 減法電路
    〈烜芯微/XXW〉專業制造二極管,三極管,MOS管,橋堆等,20年,工廠直銷省20%,上萬家電路電器生產企業選用,專業的工程師幫您穩定好每一批產品,如果您有遇到什么需要幫助解決的,可以直接聯系下方的聯系號碼或加QQ/微信,由我們的銷售經理給您精準的報價以及產品介紹
     
    聯系號碼:18923864027(同微信)
    QQ:709211280
    相關閱讀